Apolo Primary School is a proposal by 2+2 architecture designed in 2013. It is located in Lugnorre Switzerland in an urban setting. Its scale is medium with a surface of 1.242 sqm. Key material is concrete. Play-Time collaborated as visualizer. Concepts such as stratification and extension are explored. Review the 2 proposals for the same competition.

La position stratégique de la nouvelle école de Lugnorre dans la parcelle existante définira clairement les espaces extérieurs où se dérouleront les activités en plein air. L’emplacement du nouveau bâtiment crée trois espaces principaux: un jardin boisé, une nouvelle place (avec porche couvert) et le terrain de sports. Le nouveau bâtiment  se place en retrait par rapport à la façade de l’ancienne école, lui laissant son rôle de protagoniste et générant ainsi un grand espace libre à l’avant. Ce nouveau jardin boisé orienté au sud, deviendra la nouvelle façade de l’école côté Route du Quart Dessus. Cette nouvelle cour d’accès fera le lien entre les façades des deux bâtiments (datés de 1853 et 2014). La nouvelle place, définie par la façade arrière du bâtiment actuel et l’entrée de la nouvelle école, deviendra, pour les élèves des deux bâtiments scolaires, un espace de socialisation, rencontre, repos et méditation. Le terrain de sports existant complète les trois espaces extérieurs principaux, qui se connectent entre eux par un grand axe qui les traverse et les relie.

Acces et circulations…caractere de l’espace public

La différence de cote existante entre la voie routière (Route du Quart Dessus) et la parcelle actuelle est importante et provoque un manque de connexion visuelle entre les équipements et le tissu urbain de Lugnorre. Le projet propose de renaturaliser cette façade à travers un talus végétal doux qui remplacera le mur en béton et le bâtiment existant. Le contact visuel sera donc plus doux, le talus invitera à monter et, donnera accès, grâce à l’escalier, au nouveau jardin d’entrée. Une vaste surface perméable de pelouse amène vers la nouvelle architecture, située en arrière-plan, à travers des arbres fruitiers qui transmettront toutes les nuances saisonnières et didactiques des espaces cultivés. Les passants traverseront le jardin et les arbres pour atteindre le cœur du projet: la nouvelle place dont le vide relie les deux architectures. Au pied du talus, nous proposons un couvert qui sert d’abri à vélo et d’arrêt de bus muni d’un banc longitudinal qui contient la terre. Les accès pour les personnes à mobilité réduite depuis les parkings de la parcelle sont assurés grâce à des passages aménagés et des rampes reliées àla place minérale donnant accès aux deux bâtiments.

La place centrale est le coeur de l’ecole

La place centrale est l’épicentre et l’origine du projet; un espace communautaire en plein air qui structure toute la parcelle. Elle peut être définie comme le grand espace de distribution extérieur qui relie et donne accès aux deux bâtiments (le bâtiment existant et le nouveau bâtiment). Le porche couvert actuel sera éliminé afin de libérer l’espace. La cote de la place sera abaissée jusqu’au  niveau du rez-de-chaussée du bâtiment existant (517,20 m). Ainsi, l’accès direct aux activités situées au rez-de-chaussée de ce bâtiment (séjour-bibliothèque, salle à manger, salle de détente, etc.)  sont également assurées aux personnes à mobilité réduite. L’accès au bâtiment existant depuis cette nouvelle place aura davantage d’importance; un noyau contenant les ascenseurs et les toilettes se reproduira à tous les étages afin de libérer l’espace restant pour les salles de classe. La cote de la place monte légèrement (3,5%) pour atteindre la cote de 518,00 m donnant accès au nouveau bâtiment. Ce nouvel espace sera défini par les façades des deux bâtiments, les arbres du jardin d’accès et un banc continu, face au soleil, qui accueille le talus naturel et sépare la place du le terrain de sports. Une place comme cœur de la nouvelle école; un lieu de rencontre et de croisement de chemins et de parcours.

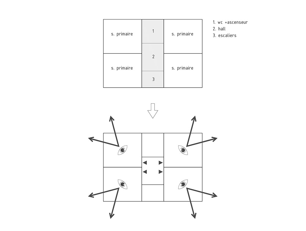
Schema elementaire et simple

L’architecture du nouveau bâtiment répond à un schéma structuré et simple qui favorisera sa rationalisation constructive et son agrandissement éventuel. Séquence du projet: salles de classe + services + salles de classe. Un grand noyau central de services et communications (escaliers, hall distributeur, ascenseur, toilettes et chambre de nettoyage) de chaque coté du bâtiment sert les salles de classe. Ceci permet à toutes les salles de classe de bénéficier d’une double orientation et des vues sur le paysage, la parcelle et le jardin boisé. Au rez-de-chaussée, le grand hall d’entrée sert d’espace d’accès à l’école depuis le porche couvert et la place; un espace pour l’accueil, la détente, des réunions ou des expositions… Un espace sur double hauteur héberge le grand escalier menant au premier étage qui s’oriente vers le sud et  les arbres fruitiers du jardin. Cet espace de montée illumine le hall d’entrée depuis le sud ainsi que l’espace d’accès aux salles de classe au premier étage. Le système structurel s’appuie sur la rationalité du plan et définit de manière ordonnée les espaces vides qui se répètent tout le long de la façade. Par souci de simplicité, l’extension éventuelle de l’école est basée sur la répétition à l’étage, de deux salles de classe supplémentaires et du noyau central de communications et services (salles de classe et services). Ce nouveau volume occupera l’extrémité Ouest du bâtiment qui donne sur la place, et coté Est il restera un volume vide dégagé qui sera utilisé comme toiture végétale partiellement aménagée en terrasse. Ce vide sur la toiture sera compensé par le vide du porche existant au rez-de-chaussée. Le système constructif et la composition des espaces vides sur la façade seront reproduits. L’agrandissement ne perturbera pas le fonctionnement de l’école et respectera et complétera l’esprit et le caractère de ce nouveau centre scolaire de Lugnorre.

0847-2P2-CH-2013 — Posted in 2014 — Explore more projects on education and school — Climate: continental and temperate — Coordinates: 46.950073, 7.073988 — Team: Miguel Cuellas, Ricard Galiana, Yago Oliva, Roman Zitnansky — Collaborator: Rivolta Architecture Sàrl & Partners — Views: 2.610